
Компания Ford получила патент на технологию теплых ремней безопасности. С нетерпением будем ждать ее внедрения.
Также интересно: В немецком городе появились светофоры с Элвисом Пресли
Вряд ли новая функция будет иметь большое значение в зимний период, поскольку теплые куртки обычно берегут водителей от контакта с ремнем, а вот в холодные летние, осенние или весенние дни – как раз для таких случаев. С другой стороны, дополнительный источник тепла в холодную зимнюю пору никогда не будет лишним.
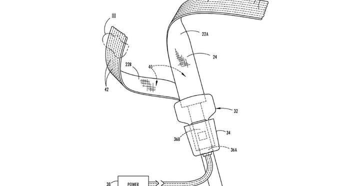
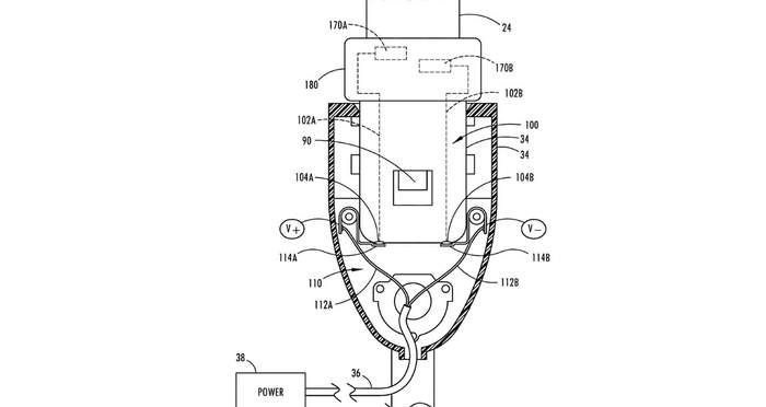
Согласно патенту, электрические нагревательные элементы вшиты внутрь ремня, при этом питание на них подается только после замыкания замка. Получается, что пристегиваться придется все же холодным поясом, который за несколько секунд нагреется.
Фото: изображение с патентной заявки Ford / U.S. Patent and Trademark Office
Возможно, ремень с подогревом был запатентован лишь для того, чтобы застолбить идею, без намерения ее внедрения в автомобили, которые выпускаются. Однако будьте готовы к тому, что скоро вам предложат автомобиль с подобной платной опцией.
Також цікаво: Представлен легкий родстер McLaren 720S Spider