
Сенсорні перемикачі поворотів
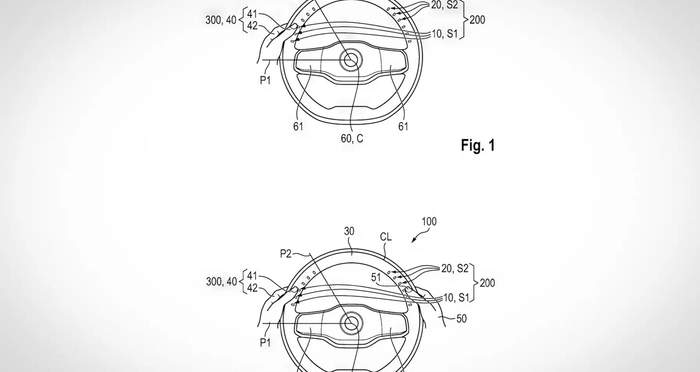
У Відомстві за патентами та товарними знаками Німеччини з'явився опис нового керма з елементами управління, розташованими прямо на ободі — ліворуч і праворуч. Перенести сюди пропонується перемикачі поворотів, керування фарами, круїз-контролем та іншими функціями. За задумом Volkswagen, таке рішення здешевить виробництво і одночасно підвищить безпеку, але питання захисту сенсорів від випадкового натискання залишається відкритим.
Читайте також: Стали відомі перші технічні подробиці про Volkswagen Passat 2024 року
На правій стороні обода розміщено основні елементи управління. При натисканні на них зліва висвітляться вторинні, і водій зможе вибрати потрібну: наприклад, натискання на піктограму фари праворуч дасть можливість керувати дальнім світлом, яскравістю та протитуманками.
Кнопки можуть бути сенсорними, так і фізичними. Оскільки вони зібрані в єдиному блоці на кермі, Volkswagen не доведеться витрачатися на виробництво зайвих фізичних елементів управління.
Враховуючи масовість виробництва, кермо, яке можна легко адаптувати до будь-якої моделі, здатне заощадити Volkswagen мільйони на розробці та виробництві. Серед інших плюсів – велика свобода для дизайнерів, а також безпека: водієві не доведеться прибирати руки з керма, щоб дотягнутися до потрібних кнопок.
При цьому сенсорні кнопки спонтанно відгукуються на дотик, що може навпаки призвести до небезпечної ситуації на дорозі. Як Volkswagen вирішить цю проблему, поки незрозуміло. Цікаво, що зовсім недавно глава концерну Томас Шефер виступив з критикою сенсорів: він назвав таке керування на кермі автомобіля помилкою, а в 2022 році Volkswagen вже обіцяв позбутися його, прислухавшись до критики клієнтів.