26 листопада, 19:20
2

Tesla займеться розробкою лазерних очисників для авто та сонячних панелей, – ЗМІ

Схоже, що презентований напередодні електро пікап Cybertruck далеко не найбільш футуристичне творіння компанії Ілона Маска. Tesla отримала патент на технологію лазерного очищення вікон автомобілів та сонячних панелей.

Нещодавно компанія Tesla подала патентну заявку на виріб під назвою "Імпульсний лазерний очищувач бруду, що скупчується на склі автомобілів і фотоелементів". Саме цього тижня патент узгодили та опублікували, повідомляє Electrek.

Не пропустіть: Бути війні: Ford і Tesla влаштують змагання пікапів

Як це працюватиме

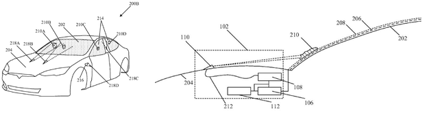
Автор винаходу Фіроз Далал так описує свою ідею: "Система очищення містить агрегат лазерної оптики, який направляє лазерний промінь на ділянку скла автомобіля, схеми виявлення забруднення і схеми управління".

Далі схема управління налаштовує параметри випромінювання лазера в залежності від місця і ступеня забруднення, контролює потужність, напрям й інші параметри лазера.


Схема патенту від Tesla / electrek

Інші функції

Цю ж систему, як сказано в заявці, можна буде використовувати для видалення нальоту з оптики камер, які встановлені в авто й забезпечують роботу автопілота.
Крім того, Tesla планує використовувати цю систему в енергетичному підрозділі компанії – щоб автоматично очищати сонячні панелі на дахах.

Звісно дуже часто компанії, патентують винаходи, яким зрештою так і не судилося вийти у світ і Tesla у цьому випадку не виняток.

Незрозуміло, що буде з цим продуктом, але чи може щось піти не так, якщо помістити кілька лазерів на автоматично керованого робота.

Більше новин, що стосуються подій зі світу технологій, ґаджетів, штучного інтелекту, а також космосу читайте у розділі Техно

Пов'язані теми: