8 июня, 20:01
3

Rivian хочет превратить свои электрические пикапы в полноценные кемперы с кроватью и палаткой

Основні тези
  • Rivian подала патент на выдвижную палатку для своего электрического пикапа R1T, что позволит разместить до четырех матрасов.
  • Палатка имеет жесткий каркас и может разместить четыре человека, обеспечивая комфорт за счет надувных матрасов, отопления/охлаждения и других аксессуаров.
  • Rivian также исследует новую систему зажимов для фиксации грузов в кузове пикапа, что может обеспечить дополнительную гибкость в доступе к вещам.

Источник:

MotorAuthority

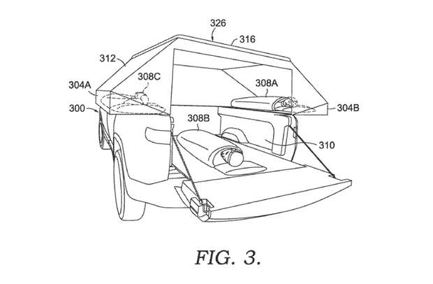
Компания Rivian подала новый патент "Retractable Double Width Expanding Camper Shell", в котором рассматривается вариант выдвижной палатки для такого транспортного средства, как электрический пикап R1T. Конструкция выдвижной палатки, монтируемой на кузов, позволит разместить в ней до четырех матрасов.

Палатка в пикапе

Палатка имеет жесткий каркас, который можно выдвинуть с помощью приводов, а также плоские поверхности, которые поддерживаются боковыми бортами кузова и выходят за пределы грузовика. Rivian называет его палаткой для кемперов и говорит, что внешние панели изготовлены из сборно-разборного материала, что делает его больше похожим на палатку, чем на кемпер.

Смотрите также Складной электрический велосипед позволяет проехать до 130 километров на одном заряде

Палатка позволяет двум людям спать в кузове грузовика, а также еще по одному человеку с обеих сторон кузова над колесами для максимального размещения четырех человек. Для большего комфорта система может включать дополнительные аксессуары, такие как надувные матрасы, системы отопления и охлаждения, солнечные батареи и окна с сеткой.


Патентный чертеж кемпера / Фото Rivian

В патентной заявке Rivian отмечает, что современные козырьки и стеллажи, предназначены для кузовов пикапов, обычно выходят за пределы кузова, что приводит к дополнительному сопротивлению и, в свою очередь, к потере эффективности. Конструкция Rivian полностью укладывается в кузов грузовика в сложенном состоянии.

Компания Rivian не сообщила, планирует ли она запустить что-то подобное к выдвижной палатке в производство, и стоит помнить, что такие патенты часто делают только для того, чтобы занять идею на будущее. Но не всегда все запатентованное добирается до производства.

Другие автопроизводители уже имеют подобные продукты. Volkswagen сейчас предлагает линейку фургонов для кемперов с такими элементами, как выдвижные палатки, выдвигающиеся с крыши.

Кстати, Rivian также работает над новой системой зажимов для фиксации груза в кузовах пикапов. В другой патентной заявке, поданной в Ведомство США по патентам и торговым маркам (USPTO) в начале 2023 года, но опубликованной ведомством только 30 мая, Rivian описывает настил, монтируемый в кузове, с защелками, работающими под давлением. Сила, приложенная к защелкам, заставляет их открываться или закрываться, закрепляя груз на настиле. В заявке также обсуждаются грузовые ящики, которые можно было бы прикрепить к настилу с помощью этой системы крепления. Коробки можно было бы открывать с двух сторон, что обеспечило бы дополнительную гибкость в доступе к вещам, когда они будут сложены в грузовом отсеке.


Патентный чертеж / Фото Rivian


Патентный чертеж / Фото Rivian

Більшість сучасних компактних кросоверів мають лише передній привід. Але ж ми купуємо кросовер, щоб впевнено почуватись за будь-якої погоди! В цьому сегменті хороший варіант авто SUZUKI, де повний привід є навіть в базі. SUZUKI S-CROSS 2024 року оснащується системою ALLGRIP SELECT, яка має яка має 4 режими роботи та дозволяє підлаштовуватися до будь-якого покриття.

Связанные темы: