Об этом сообщает 4PDA.
Читайте также: Xiaomi выпустила очень теплый пуховик
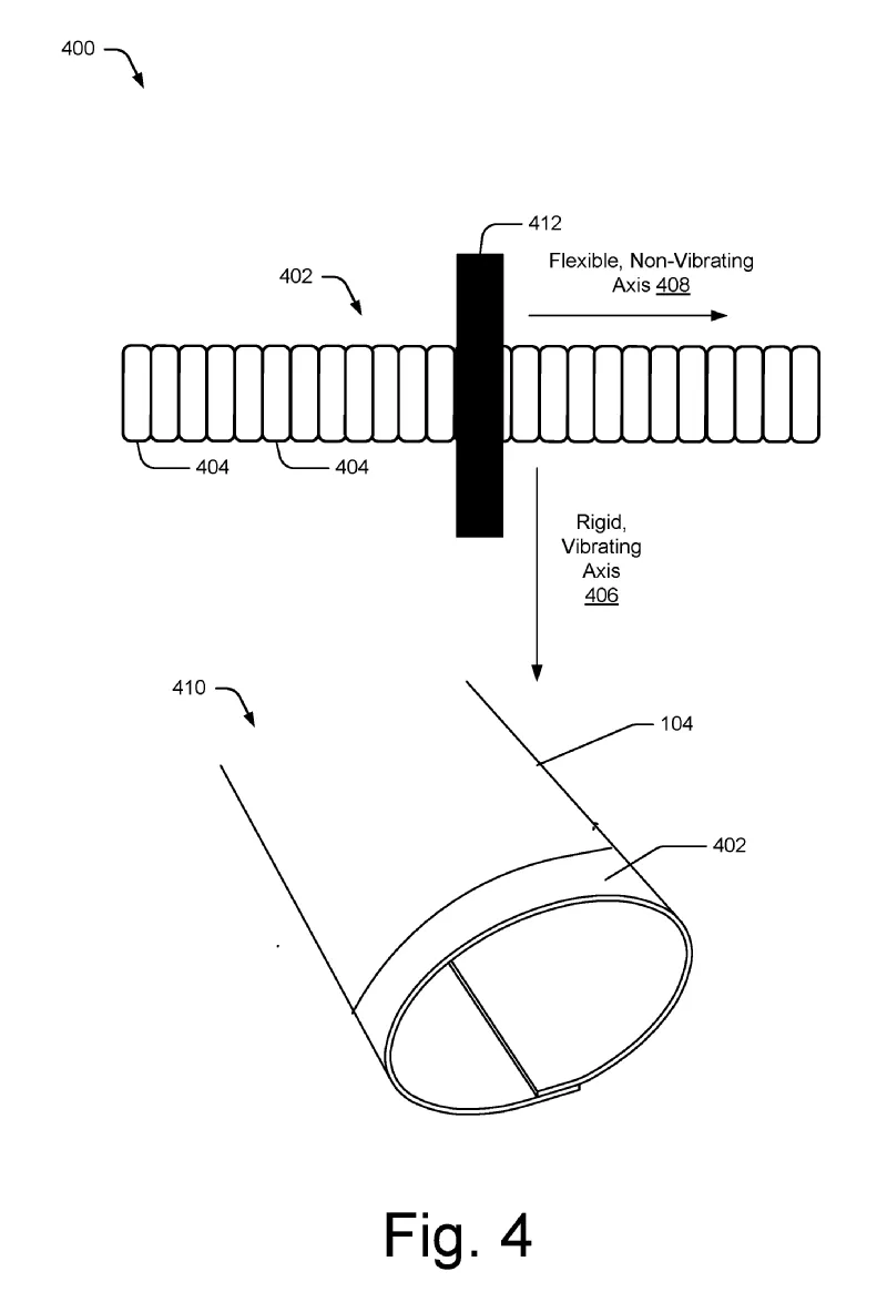
Конструкция умной одежды предусматривает наличие встроенных в предметы гардероба вибромоторов с низким энергопотреблением. При получении SMS, сообщения или входящем звонке умная одежда сможет оповестить своего владельца.
Google планирует создавать умную одежду
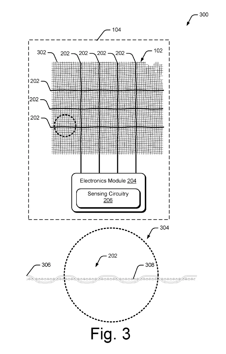
Взаимодействие с подключенными к нему устройствами будет осуществляться с помощью частей ткани с поддержкой мультитача, которые реагируют на прикосновения.
Новая разработка будет оповещать пользователя вибрацией
Стоит отметить, что патент это лишь концепт, и в ближайшее время вряд ли стоит ожидать серийного производства такой новинки. Однако тот факт, что Google "зарезервировала" идею, может свидетельствовать о начале разработки нового направления на рынке гаджетов.
Пока неизвестно когда Google представит первые наработки в этой области
Больше новостей, касающихся событий из мира технологий, гаджетов, искусственного интеллекта, а также космоса читайте в разделе Техно





