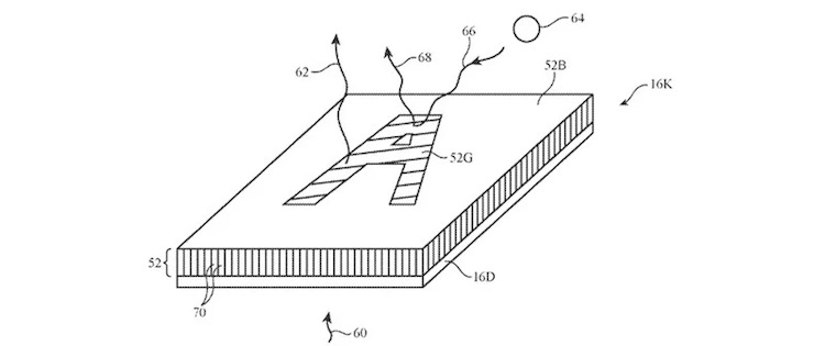
Судя по патенту, такая клавиатура может существовать как в виде отдельного устройства, так и применяться в ноутбуках. Сообщается, что каждая кнопка должна содержать небольшой OLED-дисплей для отображения символов, пишет MacRumors.
Интересно Наушники AirPods Max из золота и крокодиловой кожи продают по бешеной цене
Что известно
Для изготовления клавиш подойдут стекло, керамика, полимерные и даже кристаллические материалы, такие как сапфир. В патенте подчеркивается, что такая клавиатура сможет отображать буквы разных языков, символы, кнопки для определенных действий в играх и прочее. Кроме того, буквы будут отображаться на клавишах с учетом используемого регистра.
Новый патент Apple предусматривает наличие экранов в каждой клавише / Фото MacRumors
Важно отметить, что описанная в патенте технология никак не мешает работе переключателей физических клавиатур, что делает идею не такой и фантастической.
Символы смогут динамически меняться под потребности пользователя / Фото MacRumors
Хотя это всего лишь патент, Apple вполне может попытаться внедрить его в реальные устройства в ближайшем будущем. Новая технология выглядит вполне логичным продолжением панели Touch Bar, уже используемой в MacBook Pro.




