Изображения в патентной заявке свидетельствуют о том, что пользователи в результате смогут получить некий аналог ноутбука с дисплеем, который отсоединяется от клавиатуры. Удобное решение, которое многим точно понравится.
Не пропустите Сотни работников сбежали из производства Apple, атаковав заборы и охрану: что произошло
В общем, идея клавиатуры для iPad не нова, но раньше все аксессуары Apple под названием Magic Keyboard выглядели своеобразным чехлом. Новый же дизайн предлагает жесткую клавиатуру, с которой гаджет больше напоминает ноутбук.
Патентные изображения клавиатуры от Apple / Фото Apple
На эскизе видна подключенная к iPad база. Она примерно такая же, как у устройств Microsoft Surface. Гаджет оснащен электромеханическими клавишами и большим тачпадом, характерным для MacBook. Судя по описанию патента, модель может иметь слот для стилуса и небольшой сенсорный дисплей, аналогичный Touch Bar.
Предусмотрен крепеж для iPencil / Фото Apple
Клавиатуры со схожими характеристиками, но без Touch Bar уже можно приобрести у сторонних производителей типа Logitech. В сочетании с iPad OS планшеты Apple уже сегодня очень уверенно способны заменять ноутбуки.
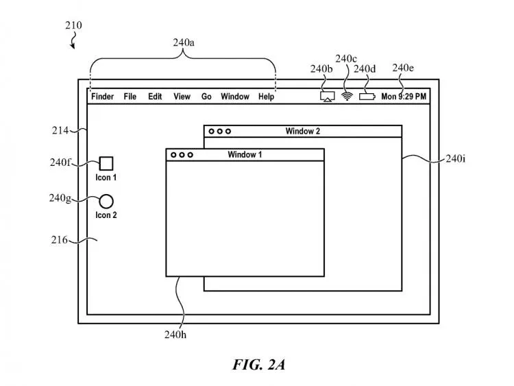
Изменения интерфейса
На изображении видны и элементы интерфейса такие как окна в стиле macOS – впрочем, само программное обеспечение в заявке не описывается. Хотя Apple никогда не упоминала о намерении интеграции macOS с планшетами, само отделение iPadOS от iOS показывает постепенное движение в этом направлении. Специальный вариант операционной системы для планшетов переживает уже четвертое воплощение.
Интерфейс будущих версий iPad OS будет больше напоминать iOS / Фото Apple
Читайте на сайте Apple, Google и Microsoft запустят единый стандарт авторизации без пароля: детали и сроки
Следует отметить, что другие патенты Apple демонстрируют крупные планы компании. Так, универсальный порт подразумевает подключение как клавиатуры, так и других аксессуаров самой Apple и сторонних производителей – например, камер и микрофонов и даже, судя по описанию, дополнительного дисплея.
Но не стоит забывать и о том, что Apple, как и ряд других компаний, часто патентует решения, которые в будущем так и не появляются на рынке, оставаясь только на бумаге в виде эскизов.





