Слухи о том, что Apple разрабатывает умные очки, ходят давно. Теперь опубликовали новый патент, описывающий некоторые возможности, которые может получить устройство. Речь о линзах, которые смогут подстраивать изображение таким образом, чтобы элементы дополненной реальности хорошо сочетались с реальным миром, пишет appleinsider.
Интересно Galaxy Buds Pro: раскрыта цена новых беспроводных наушников Samsung
Что известно
Компания давно работает над идеей настраиваемых линз. Изначально предполагалось, что функция будет предназначаться для людей с проблемами зрения, но, похоже, компания нашла ей новое применение.
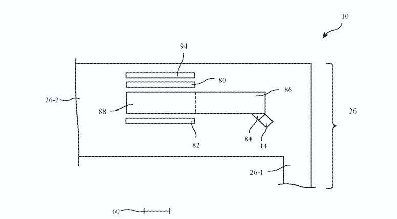
Патент под названием "Система отображения с локализованными оптическими параметрами" описывает линзы, которые могут изменять свои свойства, чтобы лучше отражать элементы дополненной реальности. Согласно информации в заявке, линзы смогут динамически изменять яркость, благодаря чему наложены графические эффекты не будут выглядеть чужеродными.
Патент Apple / Фото appleinsider.com
Предполагается, что линзы будут изготавливаться из электрически регулируемого металлосодержащего материала.
К сожалению, при сегодняшнем уровне развития технологий, оптические компоненты, которые описаны в патенте, могут оказаться слишком громоздкими или тяжелыми. Кроме того, они могут демонстрировать нежелательные графические артефакты.



