Как это работает
Stellantis – материнская компания конгломерата Fiat, Chrysler и французской PSA Group, которая продает такие бренды, как Alfa, Dodge, Jeep, Peugeot и другие. Она подала патентный проект, который может стать новым универсальным решением для автомобилей. Однако нужно ли это кому-то в мире, где все привыкли к педалям?
Смотрите также Компания Ford придумала, как навсегда отучить водителей превышать скорость
Концепция работает очень похоже на штурвал самолета:
- Чтобы повернуть автомобиль – поверните руль.
- Чтобы ускориться – толкайте вперед.
- Для торможения – потяните на себя.
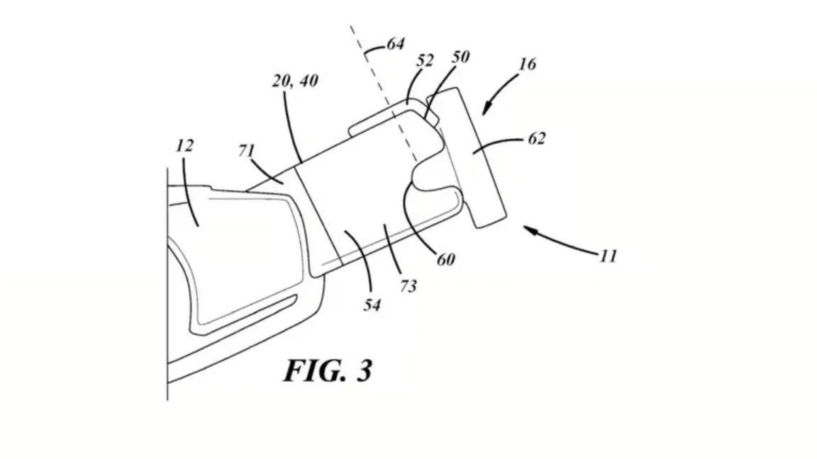
Схема руля, изложена в новом патенте / Фото Stellantis/Бюро патентов и торговых марок США
Схема руля, изложена в новом патенте / Фото Stellantis/Бюро патентов и торговых марок США
На первый взгляд, эта концепция кажется весьма непрактичной. С другой стороны, такой дизайн может стать необходимым решением для людей с инвалидностью, у которых парализованы или ампутированы ноги, но хорошо работают руки. Некоторые водители сегодня вынуждены устанавливать дорогостоящее оборудование, чтобы управлять педалями с помощью рук.
Возможно даже, что кому-то, кто еще никогда не управлял автомобилем, такая логика управления покажется более логичной и удобной. Но для людей, которые получили водительские права много лет назад, это будет, вероятно, неудобно, ведь они привыкают к педалям и подсознательно будут искать их во время вождения.
На этом этапе мало что можно сказать об этой технологии, ведь ее фактически еще не существует. Но традиционно напоминаем, что подача патента не означает, что новая система будет внедрена в ближайшее время, а может, и вообще когда-нибудь. Это лишь означает, что Stellantis имеет возможность реализовать это, если она пожелает, и автоконцерн будет владеть правами на разработанную технологию, изложенную в патенте. Однако история свидетельствует, что подача патента часто остается просто патентом, не получая воплощения в реальности.




