Как и всегда, наличие патента не означает, что технология обязательно будет воплощена в жизнь. Компании часто резервируют за собой те или иные идеи, чтобы иметь возможность реализовать их в лучшие времена, если не удается это сделать сразу.
Смотрите также Не выдержали: страницу Cybertruck на Reddit закрыли из-за постоянных насмешек над пикапом Tesla
Детали патента
Хотя подключать автомобиль к электросети не является сложной задачей, Tesla ранее говорила о его автоматизации, чтобы быть готовой к технологии беспилотного вождения. Если бы автомобили могли ездить сами, было бы логично, чтобы они могли заряжаться без участия человека, который бы их подключал.
Но остается вопрос эффективности. Беспроводная зарядка всегда имела большие потери, чем кабельная, но некоторые новейшие решения, например, с магнитным резонансом, утверждают, что их эффективность составляет около 95% кабельной зарядки. В течение многих лет Tesla отдавала предпочтение автоматизированной руке робота вместо беспроводной зарядки для выполнения этой задачи, но в последнее время ситуация изменилась.
В прошлом году Tesla похвасталась новой беспроводной домашней зарядной станцией. Автопроизводитель никогда не комментировал ситуацию, кроме того, что опубликовал изображение в рамках презентации.
Зарядная станция Tesla / Фото Tesla
На изображении достаточно четко видно беспроводную зарядную станцию: одна ее часть размещена на стене, а вторая – на полу. Машина должна расположиться над вторым плоским элементом, чтобы начать заряжаться.
Tesla ранее даже ненадолго приобрела стартап, который занимается беспроводной зарядкой, прежде чем продать его обратно. Но даже после этого компания оставила у себя часть персонала.
Главный дизайнер Tesla Франц фон Хольцхаузен недавно подтвердил, что Tesla работает над беспроводной зарядной панелью. Также в этом году мы узнали, что Cybertruck имеет индуктивные разъемы для зарядки, что намекает на то, что он может быть дооснащен беспроводной зарядной панелью.
После всех этих презентаций, заявлений и слухов мы имеем еще одно свидетельство: патентное ведомство показало заявку на четыре новых патента, связанные с беспроводной зарядкой. Вот все их названия:
- Переключатель для уменьшения тока утечки на землю при индуктивной зарядке.
- Температурные датчики и их применение в беспроводной зарядке.
- Топология цепи беспроводной зарядки и связанные с ней методы изготовления.
- Оценка параметров для беспроводной зарядки.
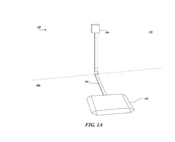
Мы также имеем несколько схем из патентных заявок.
Рисунок из патента Tesla / Фото Tesla
Рисунок из патента Tesla / Фото Tesla
Рисунок из патента Tesla / Фото Tesla
Многие детали в патентах касаются эффективности управления силовой электроникой внутри системы для оптимизации энергоэффективности, что было одной из главных проблем, которые мешали беспроводным зарядным устройствам для электромобилей стать мейнстримом.
Смотрите также Эти автомобили Tesla могут получить сиденья, вращающиеся лицом назад
Неизвестно, когда Tesla планирует представить свою технологию беспроводной зарядки, но можно предположить, что хотя бы намеки на нее появятся на презентации Robotaxi в следующем месяце, поскольку эта технология связана с беспилотными транспортными средствами.
Українці люблять надійні автомобілі, які споживають небагато пального. Яскравий приклад – SUZUKI Vitara Hybrid 2024 року. Це авто дуже економічне, надійне та перевірене часом. А головне, що зараз воно продається зі знижкою до 86 000 грн.






