У базі даних Відомства США з патентів і товарних знаків з'явилася патентна документація Apple з описом нового кабелю.
Цікаво У мережі з'явилися фото ще одного прототипу першої версії Apple Watch
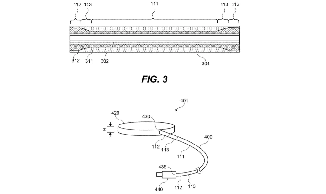
Чим вирізняється запатентований Apple кабель зарядки
Судячи зі змісту, при його розробці бренд врахував ключові недоліки оригінального рішення. Узявши до уваги той факт, що потовщення кабелю ускладнює його підключення до пристроїв у чохлах, Apple зробила акцент на щільності та жорсткості оболонки.
Окремий пункт документу присвячений вузлу з'єднання кабелю зі штекером. У цьому місці найчастіше утворюються злами, що може привести до поломки виробу. Тому компанія передбачила спеціальну гільзу на краях кабелю, яка не допускає вигинів, але і не потовщує його.
Патент Apple передбачає захист від згинань та переломів
Примітно, що у патенті не згадується термін Lightning – це може виявитися натяком на відмову від використання фірмового порту у нових пристроях. Крім того, за чутками, в одному з наступних поколінь iPhone може бути представлений і зовсім без роз'єму для дротової зарядки або з гніздом USB Type-C. Представники Apple появу патенту у відкритому доступі не прокоментували.



