Як це буде
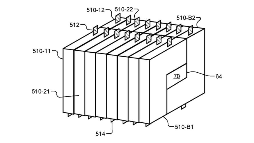
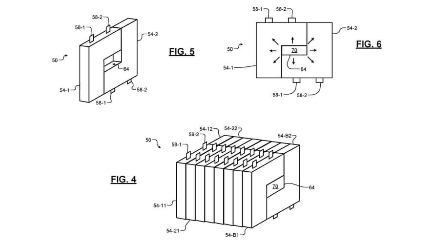
Елементи батарей зазвичай бувають тільки прямокутної або циліндричної форми. GM може це змінити. Замість прямокутної форми нинішніх елементів Ultium, у патентній заявці йдеться про Lego-форми, які складатимуть за принципом, схожим до Тетриса. У результаті такі збірні модулі залишають вільні канали для повітря, які можуть бути використані для охолодження, що допоможе продовжити термін служби батареї, стверджує GM в заявці.
Дивіться також General Motors запатентувала магнітні левітуючі сидіння для автомобілів
Ідея полягає в тому, що прохолодне повітря буде надходити безпосередньо на більшу площу поверхні порівняно з нинішніми модулями GM Ultium, у яких охолоджувальна пластина розміщена під суцільною масою елементів. Подібного ефекту можна досягти за допомогою звичайних на вигляд елементів різної довжини і товщини, розташувавши їх у вигляді О-подібної форми, що включає канал охолодження.
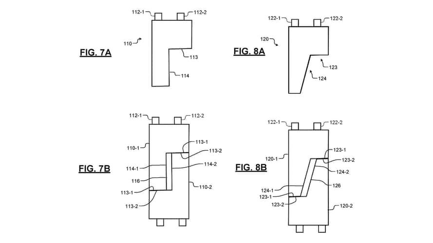
Самі елементи повинні мати форму букви "L" або "C", а збираючись разом, стикуються в модуль із отвором у центрі.
Патентні зображення нових батарей / Фото





Недоліком буде додаткова складність виробництва неоднорідних елементів, на що GM, можливо, не захоче йти, враховуючи виробничі проблеми, з якими компанія зіткнулася при виробництві своїх нинішніх елементів Ultium:
- Виробництво електромобілів Ultium EV у 2023 році йшло повільними темпами, що змусило GM відкласти плани щодо додаткових потужностей для електричних вантажівок.
- Проблеми з програмним забезпеченням також призвели до того, що поставки Chevrolet Blazer EV були призупинені на кілька місяців.
Наразі документ є лише заявкою. Він був опублікований зовсім недавно, наприкінці лютого. У ньому компанія розпочинає опис технології зі згадки про те, як працюю нинішні батареї. Вони охолоджуються за допомогою пластини в нижній частині елементів, що може призводити до нерівномірного охолодження й передчасної деградації акумулятора. Але інші компанії використовують інші методи охолодження для боротьби з цим явищем, тож не всі стикаються з тією ж проблемою.


