Що відомо про розробку
Цікаво: Apple Pay захопить ринок безконтактних платежів, – експерти
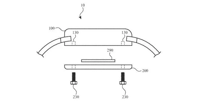
Патент отримав назву "Модульна система для годинників" і був зареєстрований Управлінням з патентів і товарних знаків США, повідомляє Apple Insider.
Установка нових модулів буде здійснюватися, відповідно до представлених креслень, з нижнього боку Apple Watch за допомогою кріплення на спеціальні болти.
Новий патент Apple
Apple запатентувала модульну систему годинників
Для комутації змінних елементів з ґаджетом передбачається використання підпружиненого штифта. При цьому Apple наголошує на важливості збереження герметичності пристрою для відповідності стандартам захисту від води і пилу.
В якості додаткових модулів розглядаються сенсори, акумулятори, контролери та різні допоміжні датчики.
Дата анонсу
Передбачувана дата появи перших модульних годинників Apple виробником поки не оголошена.
Більше новин, що стосуються подій зі світу технологій, ґаджетів, штучного інтелекту, а також космосу читайте у розділі Техно




